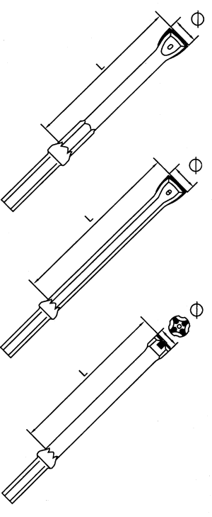
Monoblocbohrer S22x108 Ø 22 mm runde Form

andere Durchmesser und Nutzlängen auf Anfrage

Download GDI Druckluftkatalog Böhler BBG Baugeräte
Kontakt der Firma GDI Diamant Technik Herdecke Tel.: 02330-607317  Hier gelangen Sie zur GDI Startseite  www.GDI-Herdecke.de

   GDI Katalog mit 74 Seiten Diamanttechnik kostenlos bestellen

Durchmesser Nutzlänge L  (TL= L+60 mm) Artikelnummer
34 800 06MB34-800
33 1600 06MB33-1600
32 2400 06MB32-2400
32 500 06MB32-500
31 3200 06MB31-3200
30 600 06MB30-600
29 500 06MB29-500
25 800 06MB25-800
25 600 06MB25-600
23 800 06MB23-800
22 700 06MB22-700
22 600 06MB22-600
22 300 06MB22-300
22 800  
20 600 06MB22-200
19 800 06MB19-800
18 600 06MB18-600
Anschlüsse

 

 

S19 x 50

 S19 x 108

S19 x 82

 S22 x 108

usw